TR

Tersiyer Darbeli Kırıcı Nedir ve Nasıl Çalışır? Mühendislik Perspektifinden

Tersiyer Darbeli Kırıcı Nedir ve Nasıl Çalışır? Mühendislik Perspektifinden

Tersiyer darbeli kırıcılar, kırma-eleme tesislerinde son kırma aşamasını gerçekleştirerek agrega üretiminde nihai boyutun elde edilmesini sağlar. Bu yazıda, yatay milli tersiyer kırıcılara odaklanarak çalışma prensipleri, avantajları ve teknik detaylarını inceliyoruz.

Tersiyer Darbeli Kırıcılar Nedir?

Tersiyer kırıcılar genellikle, sekonder kırıcılarda kırılıp elenen malzemelerin elek üstünü ve ürün aralıklarından fazla istenmeyen malzemeleri kırmak üzere tasarlanmışlardır. Kırma eleme tesislerinde kullanılan tersiyer darbeli kırıcılar yatay milli tersiyer darbeli kırıcılar ve dik milli tersiyer darbeli kırıcılar olarak iki guruba ayrılırlar. Özellikle madencilik sektöründe sekonder kırıcı olarak konik kırıcıların kullanıldığı sert ve aşındırıcı cevherlerin işlendiği tesislerde tersiyer darbeli kırıcılar çoğunlukla dik milli kırıcılardır. Agrega sektöründe ise yatay milli darbeli kırıcıların sekonder olarak kullanıldığı tesislerde çoğunlukla tersiyer darbeli kırıcılar yatay milli darbeli kırıcılardır. Bazalt, granit ve benzeri volkanik kayaçların işlendiği sekonder kırıcı olarak konik kırıcıların kullanıldığı tesislerde ise madencilik sektöründe olduğu gibi dik milli tersiyer darbeli kırıcılar kullanılır.

Bu farklılıklar, kırıcının uygulama alanına ve istenen ürün boyutuna göre doğru çözümün seçilmesini sağlar.

Şekil 1 de bir yatay milli tersiyer darbeli kırıcının kesit görünüşünü ve kırıcının ana elemanlarını görmekteyiz
Şekil 1 de bir yatay milli tersiyer darbeli kırıcının kesit görünüşünü ve kırıcının ana elemanlarını görmekteyiz.

Tersiyer Yatay Milli Darbeli Kırıcıların Avantajları ve Kullanım Alanları

Yatay milli tersiyer darbeli kırıcılar, özellikle agrega ve madencilik sektörlerinde tercih edilir. Aşağıda bu kırıcılara özgü başlıca avantajları bulabilirsiniz.

Yatay milli tersiyer darbeli kırıcıların en önemli avantajları şunlardır.

  • Kırabildikleri maksimum malzeme büyüklüğü dik milli darbeli kırıcılara oranla daha fazladır. Bazı kırıcılarda 200mm ye kadar çıkabilmektedir.
  • Son yıllarda metalürji sektöründeki gelişmeler, yatay milli tersiyer darbeli kırıcıların aşındırıcı olmayan malzemelerin yanında aşındırıcı dere malzemesi, volkanik kayaçlar için de kullanılmasını olanaklı hale getirmiştir. Ancak günümüzde volkanik kayaçlar için daha çok dik milli tersiyer kırıcılar kullanılmaktadır.
  • Tamamen simetrik yapılı rotor ve kırma çemberi tasarımı her iki yönde kırıcının çalışmasına olanak sağlamıştır. Kırıcının her iki yanındaki tamamen açılabilir geniş kapılar kırıcıya oldukça kolay bakım olanağı sağlamış böylece bakım süreleri oldukça kısalmıştır.
  • Bu kırıcıların çoğunluğunda kırma alanı içerisinde her iki tarafta ikişer adet kırma plakası söz konusudur. Üstteki plakaya kırma plakası, alttaki plakaya öğütme plakası denir. Bu plakalara kolayca monte edilebilen astarlar  kırma ya da öğütme amacına göre tasarlanmıştır. Kırıcı kırma ve öğütme plakaları ile rotor arasındaki açıklık tamamen hidrolik olarak kolayca ayarlanabilir ve çalışma süresi boyunca stabil bir ürün dağılımı elde edilir. 
  • Kırıcıdan elde edilen ürün çatlaksız, sağlam, kübik şekilli bir yapıya sahip olup beton ve yol yapımına oldukça uygun yapıdadır. 

Tersiyer Yatay Milli Darbeli Kırıcının Yapısı ve Ana Bileşenleri

Yatay milli tersiyer darbeli kırıcının verimli çalışması, rotor tasarımından kırma plakalarına kadar her bileşenin uyumlu şekilde işlemesine bağlıdır. Bu bölümde kırıcının yapısal elemanları adım adım açıklanacaktır.

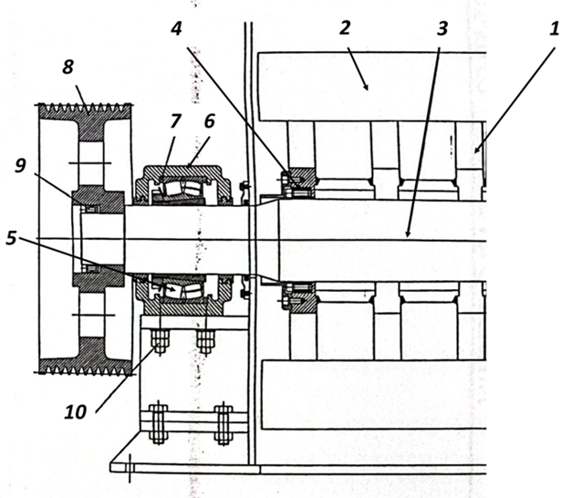
Tersiyer darbeli kırıcılara beslenen malzeme büyüklükleri primer ve sekonder darbeli kırıcılara oranla küçük olduğundan ve kırıcı kapasitesi de primer ve sekonder darbeli kırıcılara oranla daha az olduğundan dolayı bu kırıcıların kırma alanları daha küçük, dolayısıyla rotor çapları ve genişlikleri, rotor atalet momentleri, kırma plakaları genişlikleri, gövde boyutları daha küçüktür. Şekil 2 de rotor çapları ∅ 1000 mm olan tersiyer darbeli kırıcıların teknik özelliklerini ve yataklama sistemi ana elemanlarını görmekteyiz.

Şekil 2 Yatay milli 4 paletli tersiyer darbeli kırıcıların teknik özellikleri
PARÇA NO PARÇA ADI TDK 10/05/4 TDK 10/10/4 TDK 10/15/4
1 DİSK GURUBU Disk kalınlığı:70
Disk adedi:3
Disk kalınlığı:70
Disk adedi:4
Disk kalınlığı:70
Disk adedi:6
2 KIRICI PALET Palet ölçüsü:75*305*500
Palet adedi:1*4
Palet ölçüsü:75*305*500
Palet adedi:2*4
Palet ölçüsü:75*305*500
Palet adedi:3*4
3 MİL Mil malzemesi: SAE 4340
Mil çapı: Rulmanda ∅140
Ortada: ∅160
Mil malzemesi: SAE 4340
Mil çapı: Rulmanda ∅160
Ortada: ∅180
Mil malzemesi: SAE 4340
Mil çapı: Rulmanda ∅200
Ortada: ∅220
4 RINGFEDER 160*210*52 Rfn 7012 180*235*60 Rfn 7012 220*285*74 Rfn 7012
5 RULMAN 22332 CCK/W33+H2332 23236 CCK/W33+H2336 23244 CCK/W33 +H2344
6 RULMAN YUVASI SNL 3140 SNL 3236 SNL 3244
7 SIKIŞTIRMA BİLEZİĞİ 2 FRB 9/340 2 FRB 6/320 2 FRB 10/400
8 TAHRİK KASNAĞI ∅800*10 Adet SPC kayış ∅800*10 Adet SPC kayış ∅800*10 Adet SPC kayış
9 RINGFEDER 130*180*52 Rfn 7012 150*200*52 Rfn 7012 170*225*60 Rfn 7012
10 BAĞLANTI CIVATASI M 20 M 20 M 24
ROTOR ÖLÇÜSÜ ∅1000*500 ∅1000*1000 ∅1000*1500
MOTOR GÜCÜ KW 90-160 KW 160-250 KW 200-315 KW
BESLEME AĞZI ÖLÇÜSÜ 280*500 mm 280*1000 mm 280*1500 mm
MAKSİMUM BESLEME BÜYÜKLÜĞÜ 150 mm 150 mm 150 mm
ROTOR ÇEVRE HIZI m/sn 30-60 30-60 30-60
KAPASİTE TPH 70-100 130-170 170-250
TOPLAM KIRICI AĞIRLIĞI ~9000 KG ~12500 KG ~19000 KG

Tersiyer Yatay Milli Darbeli Kırıcı Rotoru

Tersiyer kırıcılarda rotor, dönme momenti ve darbe enerjisinin birleştiği ana bileşendir. MEKA mühendislik tasarımlarında rotor geometrisi, malzeme akışını optimize ederek hem kırma verimini hem de palet ömrünü artıracak şekilde geliştirilmiştir.

Rotor Tasarımı ve Malzeme Seçimi

Tersiyer darbeli kırıcı rotoru ile ilgili değişik firmaların değişik tasarımları olmakla birlikte sekonder darbeli kırıcılarda olduğu gibi döküm ya da kalın etli borudan imal edilen mil kovanı vardır. Rotor diskleri ya St 37-2 (S 235JR) kalitesinde sıcak haddelenmiş çelik, ya da GS 38,GS 45 kalitesinde çelik döküm olarak imal edilir. Disk kalınlıkları 60-75 mm civarında olup ya 25-40 mm et kalınlığına sahip çelik çekme borudan ya da çelik dökümden mamul mil kovanına (DN 250 SCH 160 veya eşdeğeri) kaynatılır, ya da diskler arasına parçalı halde kalın etli boru kaynatılır.( Uygun kaynak ağızları açılarak) Kaynak işleminden sonra gerilme giderme tavlaması uygulanır. Kırıcı büyüklüğüne göre disk sayısı 2-6 arasında değişir.

Palet Montajı ve Aşınma Direnci

Paletlerin geçtiği kısımlara palet oturma parçaları kaynatıldığı gibi bazı tasarımlarda disklerin üzeri sökülebilir, pimli bir sistemle bağlı aşınmaya dayanıklı dökümden imal edilmiş disk koruma parçaları ile tamamen kapatılır.

Şekil 3 de MEKA firmasının tipik tersiyer kırıcı rotor tasarımı görülmektedir.
Şekil 3 de MEKA firmasının tipik tersiyer kırıcı rotor tasarımı görülmektedir.

Yatay milli tersiyer darbeli kırıcılarda kırma alanı az olduğundan diskler malzeme ile sekonder ve primer darbeli kırıcılara oranla daha fazla temas ederler. Bu nedenle iki yöntem izlenir. En efektif yöntem disklere pimli ya da cıvatalı bir yöntemle bağlanmış hadfield çeliğinden dökülmüş disk koruma parçaları kullanmaktır.

Kırıcı paletlerin disk gurubundaki yuvalarına yandan sürülerek oturtulduktan sonra eksenel yöndeki hareketlerini önlemek için yaklaşık 20 mm kalınlığında bağlantı parçaları ile sabitlenirler. Bu parçalar iki uçtaki disklerin dış yüzeylerindeki oyuklara ve bunlara denk gelen kırıcı paletlerdeki oyuklara M 12 cıvatalar ile tespit edilirler. Şekil 4 de bu bağlantı şeklini görmekteyiz.

Şekil 4 Palet tutucu parçalar
Şekil 4 Palet tutucu parçalar

Tersiyer yatay milli darbeli kırıcı rotor çapları genellikle ∅1000 mm- ∅1300 mm civarında, rotor genişlikleri ise 500,1000,1500 ,2000 mm civarında seçilir. Kırıcı paletler, kırılacak malzeme kireçtaşı ve benzeri az aşındırıcı malzeme ise Hadfield çeliğinden( EN10349 Östenitik Manganez çelik döküm )imal edilir. Eğer kırılacak malzeme aşındırıcı ise yüksek kromlu beyaz dökme demir (ASTM A532 ,BS EN 12513 ,DIN 1695) ya da seramik katkılı MMC malzemeden imal edilir.

Yatay milli tersiyer darbeli kırıcılarda da primer ve sekonder yatay milli darbeli kırıcılarda olduğu gibi SAE 4340 kalitesinde dövme çelik ana mil kullanılır. Ana mil disk gurubuna konik sıkma bilezikleri (RING FEDER) ile bağlanırlar. Yataklama sisteminde ağır hizmet tipi C3 boşluklu SKF veya eşdeğeri marka çift sıra oynak masuralı rulmanlar kullanılır. Rulman yuvası olarak da SKF SNL tipi veya eşdeğeri rulman yuvaları kullanılır.

Tahrik kasnağı da ana mile standart konik sıkma bilezikleri ile bağlanır. Tahrik kasnağı çapı genellikle 800 mm civarında olup rotor çevre hızları 4 paletli kırıcılarda 30-60 m/sn, 2 paletli kırıcılarda ise 50-75 m/sn arasındadır.

İki paletli rotora sahip tersiyer darbeli kırıcılar , maksimum 80 mm besleme büyüklüğüne sahip olup düşük kapasitede ince malzeme-kum elde etmek amacı ile kullanılırlar.

4 ve 2 paletli rotorlu TDK 10/05/2, TDK 10/05/4, TDK 10/10/2 ve TDK 10/10/4 tipi kırıcılarla Tablo 1 de belirtilen şartlarda belirtilen ürünler alınmıştır.

Grafik 1 de TDK 10/05/4 Kırıcı için farklı büyüklükte ve cinslerde malzemeler için farklı hızlarda elde edilen ürün eğrileri görülmektedir.

KIRICI TİPİ BESLENEN MALZEME CİNSİ BESLENEN MALZEME EBADI, mm ROTOR ÇEVRE HIZI, m/sn ELDE EDİLEN ÜRÜN d_80 ,mm
TDK 10/05/2 Dere malzemesi 8-16 71 0-2,8 mm
TDK 10/05/4 Dere malzemesi 32-80 44 0-14 mm
TDK 10/10/2 Dere malzemesi 8-16 50 0-5,6 mm
TDK 10/10/4 Dere malzemesi 32-150 37 0-11 mm

Tablo 1 Çeşitli kırıcılarla değişik şartlarda elde edilen ürün büyüklükleri

Grafik 1 TDK 10/05/4 Kırıcı için farklı büyüklükte ve cinslerde malzemeler için farklı hızlarda elde edilen ürün eğrileri
Grafik 1 TDK 10/05/4 Kırıcı için farklı büyüklükte ve cinslerde malzemeler için farklı hızlarda elde edilen ürün eğrileri

Yatay Milli Tersiyer Darbeli Kırıcı Gövdesi

Şekil 5 Tipik yatay milli tersiyer darbeli kırıcı gövdesi (MEKA)
Grafik 1 TDK 10/05/4 Kırıcı için farklı büyüklükte ve cinslerde malzemeler için farklı hızlarda elde edilen ürün eğrileri

Kırıcı gövdesi, dayanıklılık ve bakım kolaylığı açısından tasarımın en kritik bileşenidir. MEKA gövdelerinde simetrik tasarım, genş bakım kapakları ve cıvatalı astarlar öne çıkar.

Şekil 5 da Tipik yatay milli tersiyer darbeli kırıcı gövdesi (MEKA) görülmektedir. Kırıcı gövdesi genellikle taşıyıcı şase ile bir bütün halindedir. Gövdenin ön ve arka yüzünde simetrik, yüzeyin tamamına yakınını kapsayacak şekilde iki parçalı el ile kolayca açılabilecek şekilde tasarlanmış, sabit gövdeye kollu-mafsallı olarak bağlı bakım kapağı vardır. Kapakların arka yüzeyleri cıvatalı bağlı, aşınmaya dayanıklı astarlarla kaplıdır. Gövdenin diğer yanlarında da ayrıca birer mafsallı bakım kapağı vardır.

Gövde sac kalınlığı 10-15 mm’dir.

Şekil 6 Yatay milli tersiyer darbeli kırıcı bakım kapakları (MEKA))
Şekil 6 Yatay milli tersiyer darbeli kırıcı bakım kapakları (MEKA))

Kırma ve Öğütme Plakaları

Kırma ve öğütme plakaları, nihai ürün kalitesini belirleyen temel bileşenlerdir. Aşınma direnci yüksek çelik malzemelerden üretilir.

Yatay milli tersiyer kırıcıların kırma plakaları genellikle kırma ve öğütme patikaları olmak üzere iki bölüm halinde tasarlanır.

İlk tasarımlarda her iki patika aynı kırma plakası üzerinde yer almaktaydı. Son yıllarda, kırma plakaları kırma ve öğütme plakaları olmak üzere iki bölüm olarak tasarlanmaktadır. Her bölüm ile rotor arası açıklık, bölümlerin birbirine göre pozisyonları göz önüne alınarak ayrı ayrı ayarlanmaktadır. .

Şekil 7 de MEKA imalatı tersiyer yatay milli darbeli kırıcı kırma plakası görülmektedir.

Şekil 7 MEKA Tersiyer yatay milli darbeli kırıcı kırma plakası
Şekil 7 MEKA Tersiyer yatay milli darbeli kırıcı kırma plakası

Astar Malzemeleri ve Dayanıklılık

Kırma plakası astarları kırma plakasına ya cıvatalı bir sistemle bağlanır ya da plakalardaki yuvaya geçme yöntemi ile bağlanırlar.

Kırma–Öğütme Farkı Nedir?

Yatay milli tersiyer darbeli kırıcılarda kırıcıya giren malzemenin ilk kırılması palet darbesi ve kırma plakasına çarpma ile olmakta, daha sonraki incelme malzemenin öğütme patikasından geçerken öğütülmesi ile olmaktadır. Dolayısıyla kırma ve öğütme plakası astarlarının aşınma ömrü çok önemlidir. Bu nedenle bu astarlar yeterli büyüklükte yapılırlar ve malzemeleri de kırılacak malzeme cinsine göre özel olarak imal edilirler.

Kırma plakası astar kalınlıkları ortalama olarak 90 mm civarındadır. Kırılacak malzemenin cinsine bağlı olarak az aşındırıcı kayaçlar için yüksek Mn alaşımlı östenitik çelik dökümden (HADFIELD çeliği) imal edildikleri gibi çok aşındırıcı malzemeler için (Dere çakılı, bazalt gibi) Yüksek kromlu beyaz dökme demir ya da seramik veya TiC katkılı MMC (METAL MATRIX COMPOSITE) malzemeden imal edilirler.

Daha önceden de belirttiğimiz gibi tersiyer kırıcının malzeme ile temas eden kapak sacları da 30 mm kalınlıklı HADFIELD çeliğinden mamul astarlar ile kaplanır. Bu astarlar gövdeye cıvatalı bağlandığı gibi, bazı tasarımlarda kolay değişim için özel kamalı bağlantı da kullanılır. Şekil 8 de böyle bir bağlantı şekli görülüyor.

Şekil 8 Tersiyer darbeli kırıcı kamalı yan astar bağlantısı
Şekil 8 Tersiyer darbeli kırıcı kamalı yan astar bağlantısı

Kaynak konstrüksiyon ile imal edilen kırma plakalarında astarların bağlandığı sac kalınlıkları 20-40 mm arasında değişir. Arka yüzeylerindeki takviye sac kalınlıkları da tasarıma bağlı olarak 30-40 mm arasında değişir. Kırma plakaları mafsal mil çapları 70-80 mm, Ayar çubuğu çatalı perno çapları da 50-60 mm civarındadır.

Kırma Plakası Ayar Sistemleri

Başlığa girizgah eklenmeli: Modern tersiyer kırıcılarda, hidrolik sistemler otomatik olarak açıklık ayarı yapar ve metalik malzeme girişine karşı koruma sağlar.

Yatay milli darbeli kırıcılarda genellikle tam hidrolik açıklık ayar sistemleri kullanılmaktadır. Bu sistemde kırma ortamına giren metalik malzemenin kırıcıya hasar vermemesi için değişik firmalar değişik sistemler kullanmaktadır. Bunlardan en klasik olanı, primer ve sekonder yatay milli darbeli kırıcılarda olduğu gibi yaylı sistemlerdir. Şekil 9 de bu sistemin uygulandığı yatay milli darbeli kırıcıyı görmekteyiz.

Şekil 8 Tersiyer darbeli kırıcı kamalı yan astar bağlantısı

Şekil 9 Emniyet yaylı hidrolik ayar sistemi (MEKA )
Şekil 9 Emniyet yaylı hidrolik ayar sistemi (MEKA )

Kaçak metalik malzeme hasarına karşı hidrolik olarak da tedbir almak mümkündür. Hidrolik silindir miline bağlı sensörler ile ani basınç artımı hissedilmekte, açıklık derhal açılıp metalik malzemenin kırma ortamından uzaklaşması sağlanmakta ve açıklığın tekrar eski pozisyonuna dönmesi sağlanmaktadır. Ayrıca hidrolik silindirin iç kısmına uygulanan magnetostrictive lineer pozisyon sensörü ile açıklığın ölçümü ve kontrol edilmesi sağlanır.

Tam hidrolik ayar sistemlerinin kullanıldığı yatay milli darbeli kırıcı imalatçısı birçok firma, hidrolik sistemde oluşabilecek bir problem sonrası kırma plakasının rotorun dönme çemberi sınırlarına girerek kırıcıda aşırı oranda hasar vermesini önlemek amacı ile mekanik durdurma kolları kullanmaktadır. Bu kollar hidrolik silindir ile birlikte ayrı bir noktadan kırma plakasına mafsallı olarak bağlanırlar ve hidrolik silindirin devre dışı kalması durumunda kırma plakasının rotora doğru hareketini engellerler.

Tersiyer Kırıcı Besleme Sistemi

Besleme sistemi, kırıcının performansını ve aşınma oranını doğrudan etkiler. MEKA tasarımlarında titreşimli besleyici sistemi, homojen malzeme akışı sağlayarak verimi artırır.

Tersiyer kırıcıların performansını etkileyen en önemli etkenlerden birisi, kırıcının rotor genişliği boyunca aynı malzeme kalınlığında ve aynı kapasitede beslenmesidir. Böylece kırıcının kapasitesi arttığı gibi aşınma malzemeleri ömrü de artmış olur. Bu nedenle kırıcının besleme sisteminde en uygun yöntem yaklaşık 5-15 m3 kapasiteli bir bunker ve altına yerleştirilmiş kırıcının kapasitesine uygun bir titreşimli veya bant besleyici kullanmaktır. Şekil 10 da uygun bir titreşimli besleyici ile beslenen MEKA tersiyer kırıcıyı görmekteyiz.

Şekil 10 Tersiyer yatay milli darbeli kırıcı besleme sistemi(MEKA)
Şekil 9 Emniyet yaylı hidrolik ayar sistemi (MEKA )

Tersiyer Darbeli Kırıcı Kapasite Hesabı Nasıl Yapılır?

Kapasite hesaplaması, rotor hızı, motor gücü ve malzeme özelliklerine göre yapılır. Aşağıdaki tablolar, farklı şartlarda alınan sonuçları göstermektedir. Tersiyer kırıcıların kapasite hesabında örneği ve sekonder kırıcıda izlenen yol izlenir.

Tablo 2, Tablo 3 ve Tablo 4 de belirtilen faktörler ışığında yatay milli tersiyer darbelı kırıcı kapasitesini:

Q = (N / W) * f_t * f_p * f_m

formülü ile hesaplayabiliriz. Bu tablolar aşağıda tekrar verilmiştir.

  • N: Kullanılan motor gücü, kW
  • W: Birim kırma gücü, kWh/ton
  • W = 11 * Wi * (1 / TP)
  • Wi: Kırıcı için gerekli yaklaşık spesifik enerji ihtiyacı kWh/t
  • TP: Çalışma indeksi
  • P: Ürünün (kırıcından çıkan malzemenin) % 80'inin geçtiği kare göz ölçüsü - mikron
  • F: Kırıcaya beslenen malzemenin % 80'inin geçtiği kare göz ölçüsü - mikron (ince malzeme beslenen malzemeden elenmiş olmalıdır)
  • f_t: Tasarım faktörü
  • f_p: Hız faktörü

f_m: Malzeme faktörü

Malzeme Cinsi Özgül ağırlık (g/cm³) Bond Çalışma indeksi (W_i) Kırıla bilirlik (%) Aşındırıcılık (gr/ton) Primer kırıcı tasarım faktörü (f_t) Sekonder kırıcı tasarım faktörü (f_t) Tersiyer kırıcı tasarım faktörü (f_t)
Granit 2,7 16,16 35 1398 0,53 1,13 0,79
Bazalt 2,9 21,12 25,9 1132 0,68 1,47 1,03
Diabase 2,83 20,91 26,2 924 0,67 1,46 1,02
Diorite 2,75 14,58 39,3 1543 0,49 1,02 0,71
Gabbro 2,85 14,58 39,3 1227 0,49 1,02 0,71
Gneiss 2,7 14,88 38,4 1398 0,50 1,04 0,73
Kireçtaşı 2,6 14,35 40 434 0,48 1 0,70
Porpyre 2,65 19,56 28,24 1430,4 0,63 1,36 0,95
Kuvarzit 2,6 13,77 41,9 1798 0,46 0,96 0,67
Dere taşı 2,67 13,53 42,73 1176,1 0,45 0,94 0,66

Tablo 2 Bazı önemli kayaçların önemli fiziksel özellikleri ve f_t tasarım faktörü değerleri


Kırıcı tipi Kırıcı rotor çevre hızı (m/sn) f_v Hız faktörü
Primer darbeli kırıcı 31 1
33 1,022
35 1,044
37 1,065
Sekonder darbeli kırıcı 40-42 1
45-48 1,025
Tersiyer darbeli kırıcı 40-42 1
43-47 1,015
48-49 1,015
50-52 1,020
53-58 1,025
60 1,030

Tablo 3 Kırıcı tipi ve rotor çevre hızlarına göre f_v hız faktörü değerleri


Malzeme durumu f_m Malzeme durumu faktörü
Kuru ve temiz 1
Nemli ve temiz 0,90
Nemli tozlu ve kirli 0,80

Tablo 4 f_m Malzeme durumu faktörü

Tablo 5 de önemli kayaçların önemli fiziksel özellikleri görülmektedir.


Kayaç Adı Kayaç Tipi Çalışma İndeksi (W_i) Özgül Ağırlık (t/m³) (ρ) Yığma Yoğ. (t/m³) (γ) Aşınma İndeksi (A_i) Basınç Dayanımı (MPa)
Andezite Volkanik 16 ± 2 2,6-2,8 1,6 0,5 170 - 300
Amphibole Metamorfik 16 ± 3 2,8 – 3,0 1,7 0,2 - 0,45 -
Kumtaşı Sedimanter 10 ± 3 2,7 1,6 0,1 - 0,9 30 - 180
Bazalt Volkanik 20 ± 4 2,9 – 3,0 1,8 0,2 ± 0,1 300 – 400
Kireç taşı Sedimanter 12 ± 3 2,7 1,6 0,001 – 0,03 80 - 180
Karbon Sedimanter 14 ± 4 1,0 – 1,8 0,8 - -
Klinker - - - 1,2 - -
Kok - - - 0,6 - -
Diabase Volkanik 19 ± 4 2,8 – 2,9 1,7 0,3 ± 0,1 250 – 350
Diorite Volkanik 19 ± 4 2,7 – 2,8 1,6 0,4 170 – 300
Dolamite Sedimanter 12 ± 3 2,7 1,6 0,01 – 0,05 50 – 200
Gabro Volkanik 20 ± 3 2,9 – 3,0 1,8 0,4 170 – 300
Gneiss Metamorfik 16 ± 4 2,7 1,6 0,5 ± 0,1 200 – 300
Granite Volkanik 16 ± 6 2,7 1,6 0,55 ± 0,1 200 – 300
Hematite Sedimanter - 5,1 2,2 – 2,4 0,35 ± 0,2 -
Magnetite Sedimanter - 5,7 2,2 – 2,4 0,50 ± 0,2 -
Mermer Metamorfik 12 ± 3 2,7 1,6 0,001 – 0,03 80 - 180
Porphyry Volkanik 18 2,7 1,6 0,1 – 0,9 180 – 300
Quartzite Metamorfik 16 ± 3 2,7 1,6 0,75 ± 0,1 150 – 300
Siyenite Volkanik 19 ± 4 2,7 – 2,8 1,6 0,4 170 – 300
Silex (Hornfels) Metamorfik 18 ± 3 2,8 1,65 0,7 150 - 300

Tablo 5 Önemli kayaçların önemli fiziksel özellikleri

Örnek:

Malzeme: Kireçtaşı, W_i=14,35 Kuru ve temiz

Rotor çevre hızı: v=47 m/sn (n_R=900 RPM)

F_80: 100 mm

P_(80=): 12 mm

250 KW ve 315 KW motorlar ile TDK 10/15/4 tersiyer darbeli kırıcıdan ne kadar kapasite alabiliriz?

Birim kırma gücü:

W = 11 ∙ W_i ∙ (1/√P - 1/√F) = 11 ∙ 14,35 ∙ (1/√12000 - 1/√100000) ≅ 0,942 KWh/ton

Tablo 2.2.2.2 , Tablo 2.2.2.3 ve Tablo 2.2.2.4 den tasarım, hız ve malzeme faktörleri olarak:

  • f_t = 0,70
  • f_v = 1,015
  • f_m = 1

250 KW motor kullanıldığında maksimum kapasite:

Q = N / W ∙ f_t ∙ f_v ∙ f_m
Q ≅ 250 / 0,942 ∙ 0,70 ∙ 1,015 ∙ 1 ≅ 188 TPH

315 KW motor kullanıldığında maksimum kapasite:

Q = N / W ∙ f_t ∙ f_v ∙ f_m
Q ≅ 315 / 0,942 ∙ 0,70 ∙ 1,015 ∙ 1 ≅ 238 TPH

Referanslar:

  • Yatay milli darbeli ve çekiçli kırıcılar SUPHİ YAVUZ 2025 ISBN 978-605-67925-1-9
  • MEKA MTI Tersiyer darbeli kırıcı bakım kılavuzu

MEKA’nın tersiyer darbeli kırıcı çözümlerini incelemek için Tersiyer Darbeli Kırıcılar ürün sayfasını ziyaret edin.

MEKA GLOBAL

SİZE ULAŞALIM